
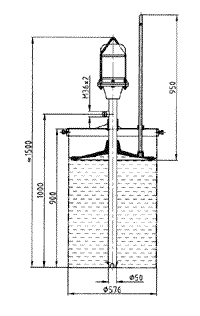
DJB型電動加油泵是本公司為滿足使用集中潤滑系統的用戶,給潤滑泵加注油脂而設計的一種加油裝置,其特點是系統阻力小,流量大。本加油系統主要由螺桿式油泵、壓油板等組成。其具有運轉平穩可靠,噪音小,流量大,使用方便等特點。在使用時,只須將泵插入油脂桶內啟動電機,就能將油脂抽出。
規格型號及技術參數
規格型號 |
額定工作壓力Mpa
|
出油量L/min
|
壓油板直徑mm
|
電動機功率KW
|
使用電源
|
外徑尺寸
|
DJB-10-530 |
1.2
|
10
|
530
|
0.75
|
380V 三相50Hz
|
≈610
|
DJB-10-400 |
400
|
≈480
|
DJB-10-250 |
250
|
≈330
|
|