
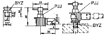
BGS型加油接頭由BYZ型平頭式油嘴及PJJ型對接頭組成。將平頭式油嘴接到潤滑點,加油時把PJJ型對接頭插入油嘴凹槽即可。加油快速可靠。
型號
|
d
|
BGS-1
|
R1/8
|
BGS-2
|
R1/4
|
BGS-3
|
R3/8
|


用來接在潤滑點上,配用PJJ型平頭式對接頭可快速進行人工加油。


GGS型加油接頭由GGZ型鉤接式油嘴及GJJ型對接頭組成。將鉤接式油嘴接到潤滑點,加油時把GJJ型對接頭插入油嘴橫銷即可。加油快速可靠。
型號
|
d
|
GGS-1
|
R1/8
|
GGS-2
|
R1/4
|


用來接在潤滑點上,配用GJJ型鉤接式對接頭可快速進行人工加油。


使在潤滑點處既可以通過分配器集中供油,也可以進行人工加油。型號:STJZG1/4-2KZG1/4
接頭中一個螺紋口接油嘴,另一個螺紋口接集中潤滑系統中的分配器,外螺紋接向潤滑點。

|