
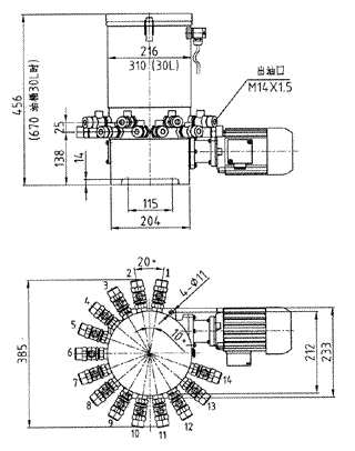
DDB型電動多點潤滑泵是一種柱塞式潤滑泵,帶蝸輪減速裝置,排量較小,可有1~14個出油口同時供油。最高工作壓力31.5MPa。使用時出油口的位置可任意選用。各出油口可直接與潤滑點連接,成為多線潤滑裝置;也可在某些出口處配以片式分配器將潤滑劑定量地輸送至各潤滑點,就成為單線遞進式潤滑系統。DDB型泵安裝方便可簡化集中潤滑系統。它應用于各種中小型機械設備的集中潤滑。
規格型號及技術參數
規 格 型 號
|
公稱壓力MPa
|
每個出油口出油量ml/min
|
貯油筒容積L
|
電機功率KW
|
使用潤滑劑
|
出油口數
|
黏度
|
針入度
|
DDB-8L-1~14 |
31.5
|
1.7,3.2,5.3,9.6任選 |
8
|
0.18
|
≤N68 |
≥265 1/10mm(25°C) |
1~14
|
DDB-30L-1~14 |
30
|
|